UE065HM Series Parts
Search Results for
Select a diagram to view its parts
Plumbing
Diagram

1
2
5
5
8
9
11
12
12
Plumbing
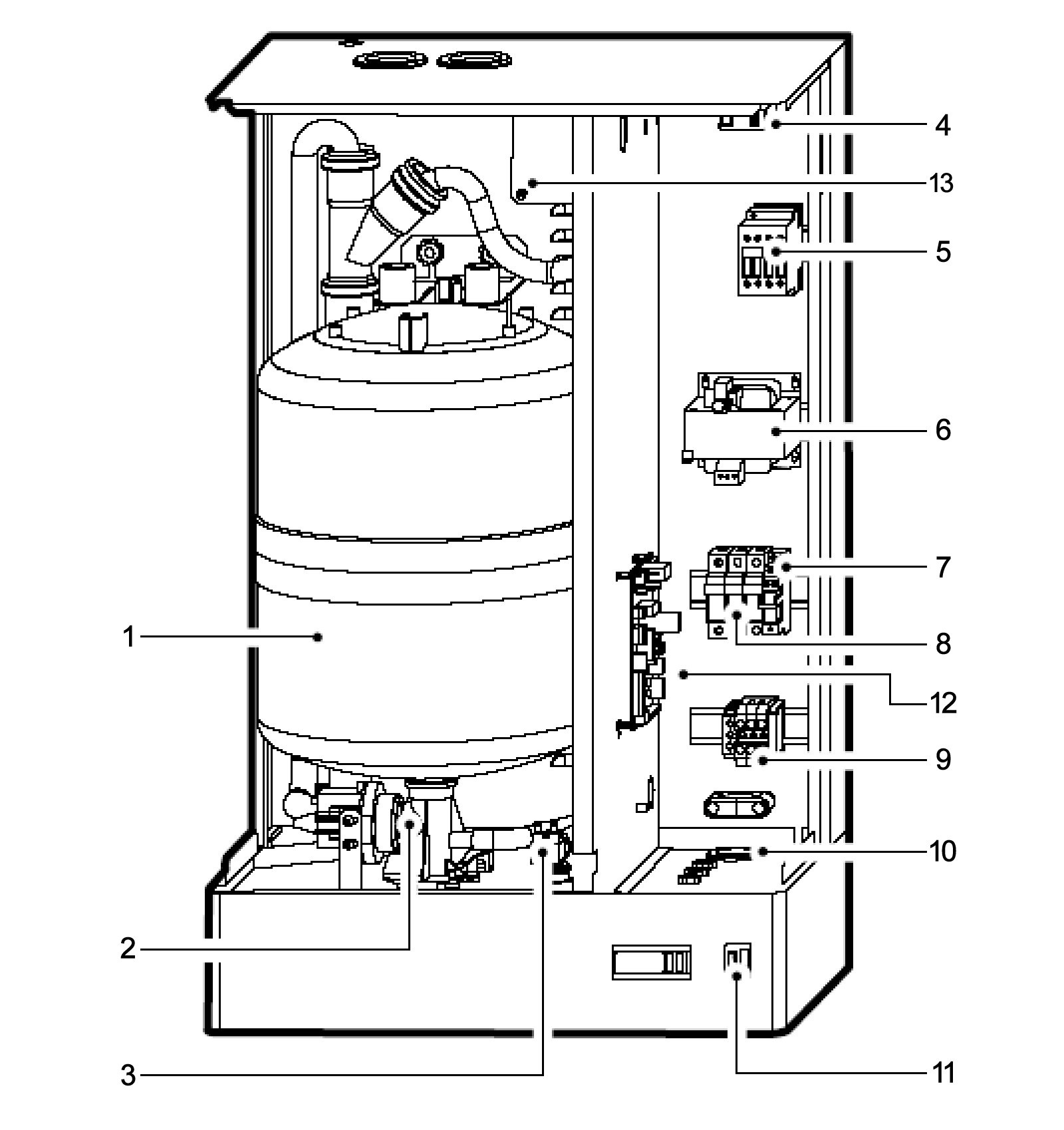
Electrical
Diagram

1
2
3
4
5
6
7
8
9
10
11
12
13
14
Electrical
Electrical Not In Diagram
Installation Accessories
Shop Accessories
Browser Not Supported
You are using Internet Explorer as your browser, which is no longer supported by our website. Because of this, you can view products but not place orders using Internet Explorer on our site.
Please update your browser to any of the modern browsers listed below or use a different internet browser to place an order on this site.
If you have any questions or need assistance with placing an order, please contact us at 800-825-2148 or [email protected]



























